It looks like the gears are moving in the minds of the Nintendo developers. A new patent was recently filed to create a new input method on the 3DS. What is so special about a new input method, you ask? It does not require any sort of physical contact with the 3DS at all!
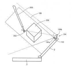
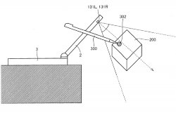
The input method will allow the player to manipulate the top screen, yes the top screen, with a stylus. The stylus will sport a type of “marker” that the inward facing camera can detect. The camera will then calculate the marker’s position and use that information to cause a reaction on the screen. A very awesome feature is that the player can manipulate where an object is located within the 3D screen by simply moving the marker closer or further from the screen. It also seems that the exterior camera will be getting the same treatment, which is perfect for games using Augmented reality.
As part of the new patent, a new stylus was also developed. The new stylus will include a vibration function so the player will get physical feedback when you interact. I wonder how long it will take a jokester to change the vibration function to a shocking function? It appears, though, that you won’t necessarily need to use the new stylus. You can simply place the marker on your finger (I would assume that it is either a sticker, or a ring-like object) and away you go.
Some would as why they don’t just make the top screen a touch screen, like the bottom? Other than bringing up the price, it wouldn’t be a bad idea in my opinion. However, I think that this patent will take the system further than a simple touch screen. For one, it gives an extra sense of depth when playing a game by allowing you to move objects closer and further by changing your position. It also beings a feature to the device similar to the kinect, the Wii, and the PSmove. With every patent filed, I get more and more impressed with the possibilities of you buddy, the 3DS.
How can you picture this being used? Are there any games that you would love to see launched that utilize the new feature?




